近期,腾讯旗下智能AI产品腾讯元宝突然官宣重磅升级!不仅直接更换全新品牌LOGO,颜值迎来肉眼可见的大蜕变——在原版基础上加入了拟人化的眼睛设计,绿白配色与太极结构得以保留,但新增的动态眼睛支持眨眼、微笑等表情变化,让整个形象从“工具感”转向“陪伴感”。

以前元宝LOGO是绿色太极简约图案,看着很高级、很科技,但有点冷、有点像纯工具。而经过这一次的改版整体线条也更圆润了,没有硬邦邦的棱角,放在手机桌面当图标,小巧耐看、缩小也不糊。肉眼可见的好认,也显得可爱多了。
而关于为什么要特意加一双眼睛?官方回应称:不想让大家只把元宝当成一个只会问答的机器。希望它有神态、有温度、能陪聊、能玩梗,像个随时在线的AI小搭档。同时,官方也表示,新形象旨在传递“智能伙伴”的定位,后续将结合社交功能深化用户体验。
而在玩法拓展上,元宝派近期还引入了「养虾」机制。用户可关联已有的OpenClaw设备,将自己部署的「小龙虾」接入派内,形成更具参与感与趣味性的社交互动场景,进一步丰富虚拟与现实的连接方式。

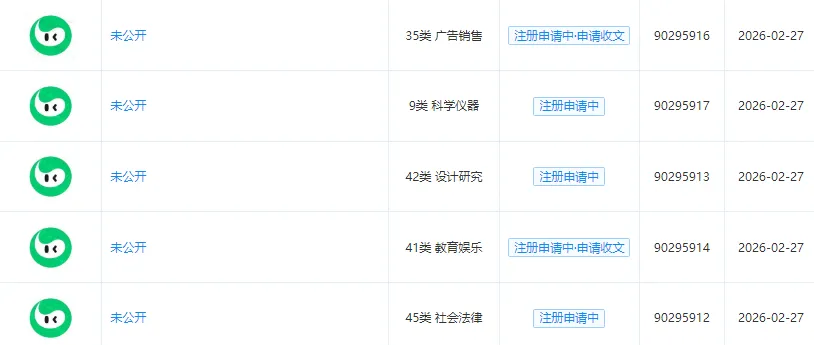
但比起设计本身,还有一个细节更值得关注。根据律师查询了解到,在腾讯元宝AI正式官宣换标之前,腾讯公司就已经提交了新图形商标的注册申请。这意味着,当新形象面向公众发布时,其商标权利早已进入审查流程,品牌资产的保护几乎与品牌曝光同步完成。

项目未动,商标先行,腾讯提前做好商标布局,为品牌后续发展免去后顾之忧,避免项目上线后商标被抢注等风险。而这也并非腾讯第一次展现其商标布局的“先见之明”。
综上,腾讯元宝品牌升级不仅是视觉层面的改变,也是品牌战略、技术表达、生态协同和用户中心理念的全面升级,更是向“情感化、社交化、生态化”方向转型的关键举措,通过提升用户体验和生态价值,增强产品的市场竞争力和可持续发展能力。
同时,腾讯的商标布局体现了“项目未动,商标先行”的理念,通过提前规划、全面覆盖和持续维护,构建了强大的商标保护体系,既保护核心业务,又为未来发展和衍生品开发提供了保障。
【温馨提示】文中部分图片及素材来源网络,版权归属原作者,若有不妥,请联系告知修改或删除,谢谢!