随着社保制度的不断完善,社保缴费基数与养老金计发基数的确定也越来规范,过去社保缴费基数采用城镇非私营单位平均工资,没有考虑私营单位的平均工资。从2019年开始,国家将社保缴费基数调整为城镇私营单位和非私营单位的加权平均工资,由于私营单位平均工资低于非私营单位,加权平均后,社保缴费基数减小,减轻了参保人员的缴费负担。

与此同时,部分地区的养老金计发基数也与全口径平均工资完全并轨,到2024年底,已经有不少于8个省份的养老金计发基数采用了全口径平均工资。也就是说,这些地区的社保缴费基数和养老金计发基数、全口径平均工资,实现了完全统一。这8个省份分别是上海、浙江、西藏、黑龙江、福建、贵州、新疆、海南。
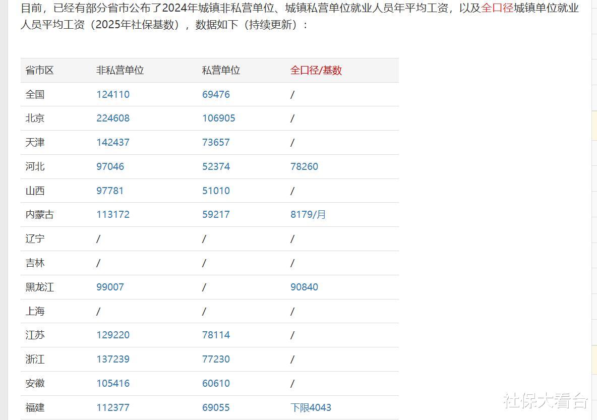
根据不完全统计,今年所有省份都已经公布了城镇私营和非私营单位的社会平均工资,但大多数都没有公布二者的加权平均工资,所以大多数地区的社保缴费基数还没有确定,内蒙古、福建、黑龙江、河北公布了加权平均工资。

由于黑龙江和福建的养老金计发基数采用全口径平均工资,事实上,黑龙江、内蒙古、福建的养老金计发基数可以从公布的社保缴费基数中判断出来,黑龙江2025年的养老金计发基数为7570元,内蒙古2025年养老金计发基数为8179元,福建2025年养老金计发基数由于仅仅公布了社保缴费基数的下限,暂时还无法判断今年的养老金计发基数是多少。
河北虽然也公布了加权平均工资,但因为河北养老金计发基数与社保缴费基数不同,因此公布的加权平均工资只是社保缴费基数,不能作为今年的养老金计发基数。

判断的原则是加权平均工资与养老金计发基数的差距越小,希望就越大。比如北京和广东,去年的养老金计发基数和社保缴费基数的差距就比较小,如果今年顺利将养老金计发基数纳入加权平均工资口径也是顺理成章的事情。
去年,广东的养老金计发基数为9307元,养老金计发基数为每月9167元,二者相差了140元,如果今年广东加权平均工资能涨140元以上,那么养老金计发基数采用上年度社会平均工资的概率就非常大了。
再看看北京,北京去年的养老金计发基数为每月11525元,社保缴费基数为11761元,社保缴费基数高于养老金计发基数236元,如果今年北京工资上涨能够达到236元以上的水平,那么养老金计发基数与社会平均工资的并轨就水到自然成。当然,受经济发展的影响,如果工资增长较为缓慢,那么各地社会平均工资与养老金计发基数的差距缩小进程会延长,不利于计发基数与社会平均工资的并轨。

去年末为止,养老金计发基数与全口径城镇单位就业人员平均工资并轨的省份有8个,是否包括你的家乡呢?随着工资的增长,养老金计发基数涨幅的放缓,二者的差距将会越来越小,最终会实现全口径平均工资与养老金计发基数统一,今年有希望统一的地区包括广东和北京等地。并轨后,养老金计发基数将采用全口径平均工资。
评论列表