DC娱乐网

从“人防”到“智防”:茶百道联手厨芯科技破解“万店食安”魔咒

食品安全从“人盯”到“制度管、数据验”。 在餐饮连锁化、规模化狂奔的“万店时代”,一个经典的商业命题正被重新审视:规模

食品安全从“人盯”到“制度管、数据验”。

在餐饮连锁化、规模化狂奔的“万店时代”,一个经典的商业命题正被重新审视:规模扩张、卓越品质与可控成本,三者能否兼得?

尤其在食品安全这条不可逾越的生命线上,挑战尤为严峻。对于茶饮、烘焙、轻食等餐饮业态而言,门店操作环境高糖、富水、原料复杂,天然更易成为食安风险的敏感区。

当连锁品牌的门店规模跃升至数千家量级,传统的“人防”模式——依赖人工月检、纸质记录、事后补救,其固有的响应延迟与管控断层特点,不仅难以守住安全的底线,也无法控制不断攀升的管理成本,这已成为规模化发展进程中难以承受的瓶颈。行业对一种能够同时确保“高质量、高效率、优成本”的系统性解决方案,需求已空前迫切。

近日,中国连锁经营协会(CCFA)发布的“2026年度连锁餐饮/新茶饮创新案例”,为行业提供了一个极具参考价值的“解题样板”。茶百道与厨芯科技联合申报的《AIoT技术驱动食安管理新范式》成功入选。这不仅是一次技术工具的应用升级,更代表了一条经过验证的、能够同时优化质量、效率与成本三角关系的可行路径,为面临相同挑战的连锁品牌提供了清晰的选择。

痛点直击:规模扩张下的管控失焦

深入剖析连锁食安管理的典型环节——有害生物防制(PCO),传统模式的局限在规模化场景下暴露无遗。其症结主要聚焦于三大层面:

首先,是风险发现的“滞后性”。每月一次的人工巡检,留下了近三十天的风险监控真空期,隐患在“人眼缺席”时悄然滋生,管理者却处于“盲区”。

其次,是管理流程的“黑箱化”。依赖纸质单据的流转,使服务过程与结果难以被有效追踪和验证。总部标准在层层传递中耗散,执行力难以保证。

最终,这将把管理决策推入高度依赖滞后信息与个人经验的境地,致使决策往往与实时风险脱节,难以实现主动、精准的预防性管控。

这三大痛点相互交织,构成了连锁品牌在追求规模的同时,难以逾越的食品安全管理鸿沟。

破解之道:构建“治理奠基+智能闭环”的食安新体系

面对上述挑战,厨芯科技为茶百道提供了一条清晰的破局思路,其核心并非单一技术的应用,而是一套贯穿“预防-感知-决策-执行”全链路的“DaaS(数据即服务)”智能运营体系。

这套体系的起点,是至关重要的“治理奠基”。通过厨芯的服务专家深度勘查与科学初始治理,为后续的智能监测建立一个洁净、可控的物理环境基线,从源头上避免环境干扰导致的误报,确保数据感知的准确性。

厨芯智能监测平台应用视图-门店风险管理

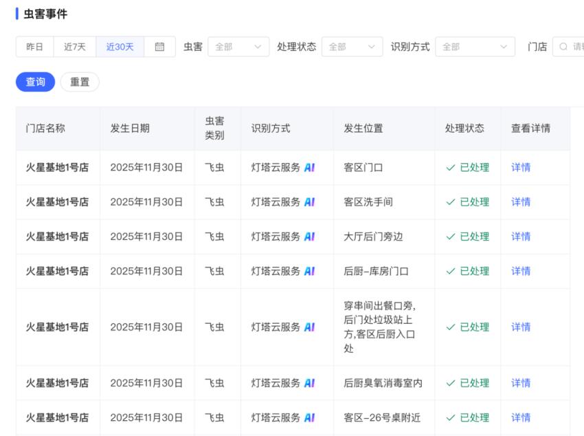
在此洁净、标准化的物理基础上,7×24小时不间断的“智能感知”能力得以部署。 AI视觉监测终端如同永不疲倦的数字哨兵,覆盖关键风险点,实现了毫秒级的自动识别与预警,将风险发现周期从“按月”彻底压缩至“实时”,从根本上解决了“发现滞后”的行业顽疾。

厨芯智能监测平台应用视图-智能虫害监测

所有前端数据实时汇聚至厨芯科技“PCO智能管理灯塔云平台”,构成体系的“智慧决策” 大脑。在这里,全国门店的风险监测情况、预警趋势、工单状态一目了然。总部管理者得以一屏统览全局,管理决策从此基于清晰、实时的全域数据洞察,驱动精准的资源调度与前瞻性策略制定。

最后,是“精准执行” 的闭环落地。系统自动生成工单,智能调度厨芯工程师在T+1日内上门“靶向治理”,并通过线上化流程完成处理与验收。自此,从风险发现到问题解决,全流程数据闭环、透明可追溯,确保了运营标准能够不折不扣地穿透至每一个终端门店,实现了从“人盯”到“制度管、数据验”的质变。

厨芯智能监测平台应用视图-虫害事件

价值呈现:驱动运营能效的全面跃迁

这一数字化闭环,为规模化管理带来了实实在在的可量化价值。最直观的体现是管理效能的倍增。总部督导通过统一的数字化管控云平台看板,人均有效管理半径得到极大扩展,效率提升至传统模式的数倍,让“万店”级的总部管控从理论变为可能。

在风险控制层面,响应处置周期从平均30天被压缩至24小时以内,实现了在隐患萌芽阶段的精准阻断,从而显著降低了潜在食安事件的发生概率与品牌损失,将被动应对转化为主动防御。

从成本结构看,变革同样深刻。服务资源从“为服务频次付费”转向“为防控效果付费”,实现了资源的精准投放。实践表明,该模式在提升防控效果的同时,帮助品牌实现了单店年均综合成本的优化,真正达成了质量、效率与成本三者的兼得与平衡。

厨芯科技此方案的价值,早已超越单点技术的成功。其更深远的行业意义在于,它完整验证并输出了一套可供绝大多数连锁企业借鉴的“数字化治理范式”。

它证明了“AIoT + SaaS”在复杂的餐饮场景下已具备可靠的落地能力;它重构了总部与门店的关系,为解决连锁扩张中最核心的标准化与执行力难题提供了数字化的“操作系统”;它甚至推动了产业链合作模式的进化,使专业服务采购从“购买服务过程”转向“购买可量化的管理结果与数据价值”,构建了更透明、更健康的协同生态。

厨芯科技的这套AIoT有害生物防制解决方案,本质上已成为连锁品牌实现“有质量的智能增长” 所必需的一套运营操作系统。据悉,该方案已成为众多头部品牌的共同选择,在蜜雪冰城、塔斯汀、新荣记、喜家德、老碗会、很久以前等品牌的数万家门店中稳定运行。这标志着,在“万店时代”的下半场,竞争的核心正从规模扩张的“速度”,转向基于精准数据与智能运营的“深度”与“可信度”。厨芯科技所构建的,正是一条通往“有质量的智能增长”的可靠路径。

厨芯科技合作餐饮品牌超15000家

本文由红餐网(ID:hongcan18)原创首发。配图由厨芯科技提供,红餐网经授权使用。