劳斯莱斯纯电SUV谍照曝光了,从图片来看,新车的轮廓基本和库里南的风格,保持一致,但目测车身尺寸要更大,并且后牌照的位置,从尾门转移到了后杠上。有消息称:新车将于2027年上市。

可能是配备了空气悬架的原因,图片中,车辆的底盘离地间隙很低,就像是轿车,少了些SUV的粗犷感。估计底盘升高之后,整个的气场会更强。整个外观的亮点,似乎集中在车头,作为一款纯电车型,新车竟然继续保持了长车头的设计,主要还是为了延续传统,提升豪华感。

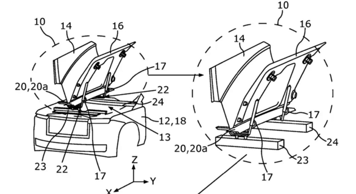
同时,前机盖的设计,也很有特点。被划分成了3个部分,中间是一条筋线,前方放置可伸缩的飞天女神立标,两侧为独立的盖板,可以各自向中间的筋线处抬起,并采用了铰链结构,相当有新意和原创度。

类似的开启方式,之前曾出现在卡车上,主要是为了便于维修,但纯电车型没有发动机,劳斯莱斯可能会带来更多的延伸设计和创意。
动力方面,参考闪灵的表现,大概率搭载双电机四驱系统,最大功率585马力,最大扭矩900牛·米,WLTC工况续航530km。老实说,账面参数和续航,在高端纯电中只能算是中规中矩。

在以往的燃油车型中,超豪华品牌往往通过机械素质,来彰显自己的溢价能力,但换到新能源之后,一切都变了,且高端纯电的份额本身也比较小,劳斯莱斯的纯电SUV能获得成功吗?