DC娱乐网

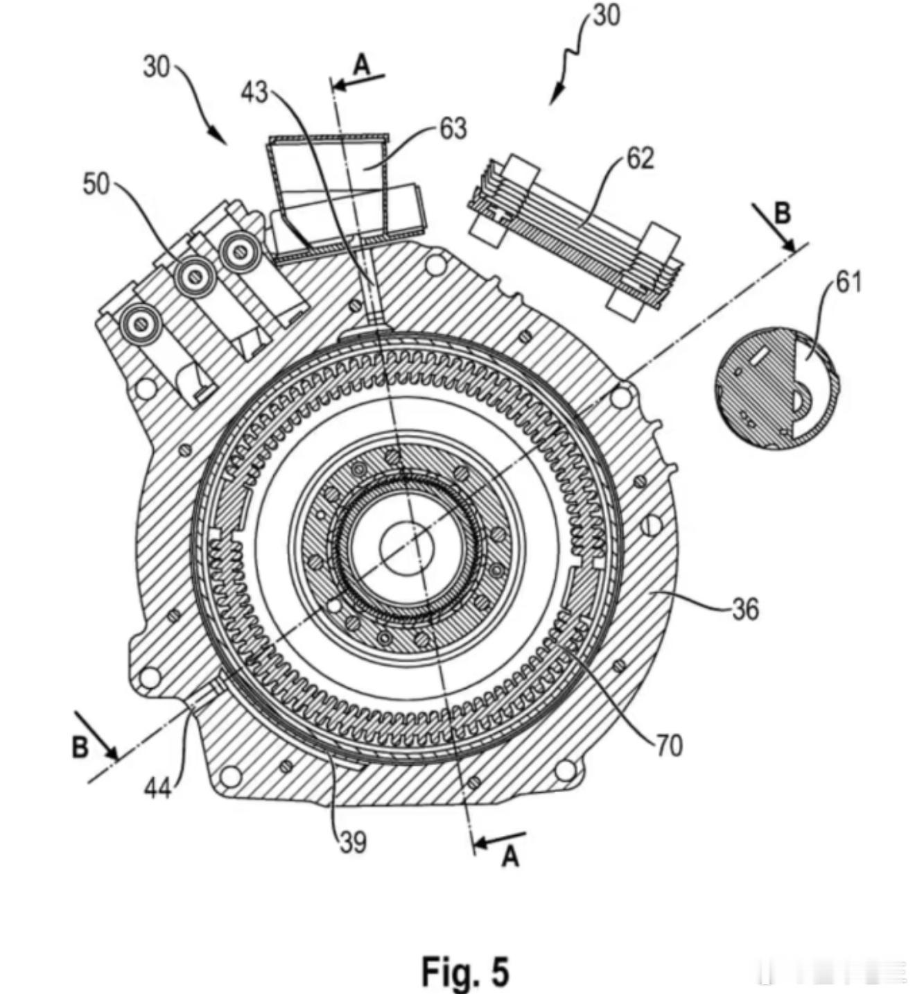
保时捷也做了YASA轴向磁通电机的应用专利储备,这个纵向P1或P2的位置空间看起

保时捷也做了YASA轴向磁通电机的应用专利储备,这个纵向P1或P2的位置空间看起来还是比较大的,双离合可以配这套系统,也就是说,下一代GT3RS有机会搭载这一套。动力总成这一块,YASA的相对低的转速啥好可以和万转发动机进行匹配。