
作者|胖虎
2025年12月31日,本是辞旧迎新的节点,深耕杭州的民营房企滨江集团(002244.SZ)却意外迎来司法层面的“冲击”。据天眼查、企业预警通等平台信息,这家素有“民营房企之光”称号、以产品品质和财务稳健著称的上市企业,当日新增被执行人信息,执行金额超6366万元。

更值得警惕的是,这并非个例——2025年以来,滨江集团旗下多家控股子公司已接连陷入被执行困境,累计执行金额超1亿,仅今年开年的一笔司法执行金额就高达9000多万。而在上市公司陷入被执行人风波之前,时间点上刚好叠加滨江集团控股股东减持套现,其维系多年的“稳健神话”或将面临多重考验。
1
司法风险多点爆发
1.6亿执行金额暴露经营漏洞
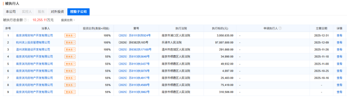
滨江集团此次被执行并非孤立事件,而是叠加了子公司的被执行人风险。统计显示,2025年至今,上市公司滨江集团及旗下子公司累计被执行金额已超1.6亿元,从公司名称来看覆盖投资管理、房地产开发等业务板块。

其中,控股子公司杭州滨上投资管理有限公司于2026年初被乐清市法院列为被执行人,单案执行金额高达9780万元,占总执行金额的61%;全资子公司南京滨晖房地产开发有限公司、温州滨致建设开发有限公司,以及控股子公司南京滨鸿房地产开发有限公司,均在2025年出现多条被执行记录,涉及合同纠纷、工程款支付等多项案由。
作为以区域深耕和风险控制为标签的房企,滨江集团及子公司密集成为被执行人,打破了市场对其“零债务风险”的认知。从历史案例看,滨江集团曾因对外合作项目风控不足多次“踩雷”,如早年与深圳安远控股合作旧改项目,11.6亿元借款最终仅能收回4.36亿元,7.24亿元计提坏账准备;与上海中崇集团的合作也因对方流动性危机导致借款难以收回。
当然,在2025年,滨江集团也有诸多的参股公司,因合作方出现问题等原因成为被执行人,如滨江集团持股37%的杭州融滨昌盛置业有限公司,据天眼查信息显示在2025年有16条被执行记录,该公司已经被限高;再如持股15%的温州浙同置业有限公司、持股25%的乐清市梁荣置业有限公司、持股49%的杭州兴塘置业有限公司等等多家参股公司也均成为被执行人。
此次上市公司及多家子公司成为被执行人一事,本质上是其项目管理、款项结算等内控环节出现了问题,而在房地产行业深度调整期,这类司法风险极易引发连锁反应。
2
财务数据喜忧参半
现金流与盈利韧性双承压
司法风险的背后,是滨江集团2025年财务表现的分化与隐忧。从表面数据看,公司仍维持行业头部地位:据中指研究院数据显示,2025年滨江集团全年实现销售额1017亿元,位列全国房企第10位、民营房企第1位,在杭州市场的销售市场份额也已经连续多年夺冠,区域护城河稳固。

前三季度财务报表显示,滨江集团营业总收入655.14亿元,净利润40.65亿元,归母净利润23.95亿元,基本每股收益0.77元,盈利规模看似可观。
但深入拆解不难发现,其财务健康度已出现明显下滑。首先是资产负债率仍然较高,2025年三季度末达76.43%,虽较一季度79.03%有所回落,但仍处于行业高位,且流动比率仅1.30、速动比率0.37,短期偿债能力薄弱。尽管公司宣称现金短债比3.14倍、净负债率7.03%,但这一“稳健”指标背后,是经营现金流的持续恶化——2025年前三季度经营活动现金流净额为-79.53亿元,上半年更是净流出89.65亿元,较上年同期近乎翻倍,主要源于年内高达几百亿的高额拿地支出形成的资金缺口。
盈利能力的脆弱性同样凸显。2025年三季度销售毛利率已下滑至12.44%,上半年更是低至12.24%,毛利率水平自2021年的24.83%一路下滑至2024年的12.54%,今年持续下滑。
值得注意的是,在行业低迷之下,滨江集团仍然处在逆势扩张之中。根据滨江集团的上市公司公告显示,2025年以“土储收割机”姿态拿下杭州18宗地块(全年19宗,另一宗是在湖州),甚至出现多个高价地块,如果叠加建设、营销成本,多个高端项目或将陷入“高价拿地-利润微薄”的困境。随着杭州高端楼市热度下降,多个待入市高端项目或将面临同质化竞争,去化周期拉长恐怕将进一步侵蚀利润空间。
3
控股股东减持套现
信心传递失衡或引疑虑
在公司司法风险升温、财务承压的关键期,控股股东的减持行为更引发市场对公司前景的担忧。
据滨江集团公告,2025年11月15日,公司披露控股股东一致行动人元享红利72号、73号、74号私募基金的减持计划,拟三个月内减持不超过8952.25万股,占总股本2.88%。截至2025年12月23日,上述基金已通过集中竞价和大宗交易累计减持2889.27万股,占总股本0.928%,按期间平均股价测算,套现金额超4亿元。

从减持时机看,控股股东选择在第三方机构披露全年销售额1017亿元、看似业绩稳固的节点套现,形成鲜明反差。历史数据显示,滨江集团控股股东及一致行动人此前也存在阶段性减持行为。这种“精准减持”虽未违反监管规定,但在公司面临被执行风波、现金流紧张的背景下,在外界看来是否会认为控股股东对公司中长期发展信心不足,或与公司对外宣称的“财务稳健”形成矛盾。
曾几何时,滨江集团凭借深耕杭州的战略、过硬的产品品质,在民营房企普遍陷入债务危机时独善其身,成为行业“清流”。但2025年以来的被执行风波、现金流恶化、股东减持等一系列事件,也给这家明星房企增添了不确定性。