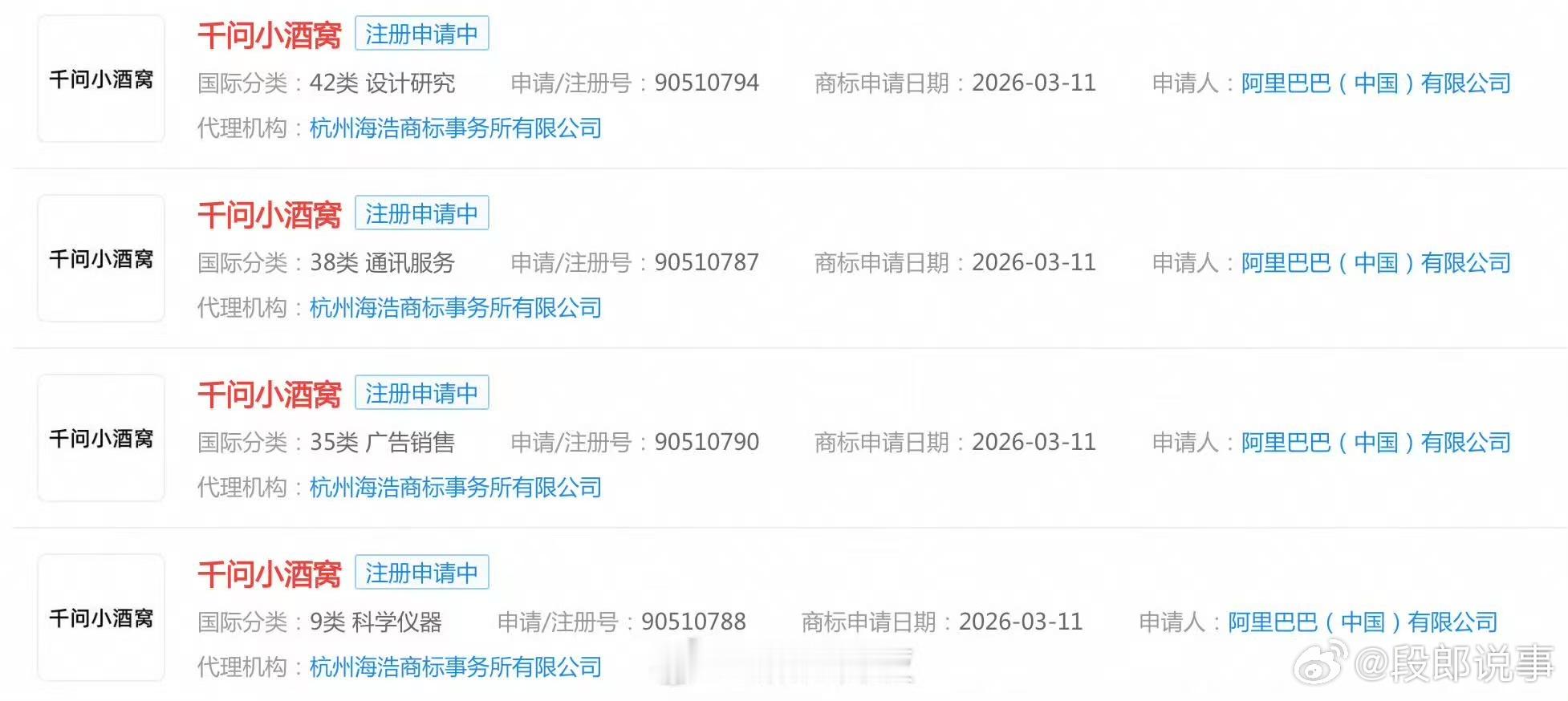
阿里申请千问小酒窝商标 阿里巴巴近日低调申请"千问小酒窝"商标,涉及人工智能服务和人形机器人领域,并预告将于4月22日(明天)公布相关AI业务新进展。海报中酒窝女生的形象,让外界对“千问小酒窝”的形态充满想象。如果说此前的AI模型更多是技术能力的输出,那么“小酒窝”则有望成为阿里AI的具象化符号,填补其在C端用户心智中AI形象的空白。



阿里申请千问小酒窝商标 阿里巴巴近日低调申请"千问小酒窝"商标,涉及人工智能服务和人形机器人领域,并预告将于4月22日(明天)公布相关AI业务新进展。海报中酒窝女生的形象,让外界对“千问小酒窝”的形态充满想象。如果说此前的AI模型更多是技术能力的输出,那么“小酒窝”则有望成为阿里AI的具象化符号,填补其在C端用户心智中AI形象的空白。


