劳斯莱斯正在研发一款电动跨界车,对抗宾利Barnato。近期,这款原型车在慕尼黑测试时被谍照摄影师抓拍到了,这款车型似乎采用了一个老式的分体式引擎盖。

借助强大的相机镜头,我们可以看到它的“引擎盖”有一条中央脊线,前端装有可伸缩的欢庆女神立标。脊线两侧是两块可活动面板,它们显然能像行李箱盖一样向上掀起。

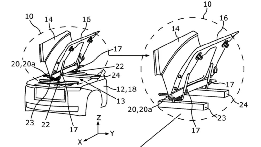
劳斯莱斯在2024年为这个创意申请了专利,这让我们能清楚地了解它的样貌,我们还能看到引擎盖前部似乎有一个铰链。

这款跨界车还配备了完全封闭的格栅,顶部安装了一个摄像头。格栅两侧是分体式照明单元,包含带有双R徽标的低位大灯,这台车还采用了一个宽阔的下部进气口,配有横向饰条。

其余部分的设计则传统得多,与现款库里南高度相似。因此,我们可以看到一条硬朗的肩线和板正的侧面车身,还有看起来非常熟悉的车窗造型、相对平直的车顶以及粗壮的D柱。

这种似曾相识的设计一直延续到车尾,但这款电动车型拥有一个独特的后保险杠,没有排气口。保险杠上还设置了牌照安装凹槽,这是一个变化点,因为库里南的牌照是安装在尾门上的。

有这么多的相似之处,看起来这款车可能会是第二代库里南。不过,外界一直有猜测认为这两款SUV可能会并行销售。

这款车无疑将追随闪灵的脚步,闪灵轿跑搭载102千瓦时电池组以及双电机全轮驱动系统,可以输出产生584马力和900牛·米的扭矩,拥有530公里的WLTP续航里程。

这款跨界车应该还会受益于改款7系的新技术,宝马近期宣布其旗舰轿车将搭载第六代eDrive技术,包括能量密度提升20%的圆柱形锂离子电池,预计这款新车也会融入一些新世代车型的先进技术。
